This product guide contains the specification for mini hose clips, a series of standard parts available from Westfield Fasteners.
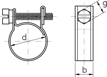
These mini hose clips are available in A2 stainless steel. Refer to figure 1 and table 1 below for product dimensions.

| d (Range) | Max. Torque (Nm) | b | g |
|---|---|---|---|
| 7-9 | 1.5 | 9 | 7 |
| 8-10 | 1.5 | 9 | 7 |
| 9-11 | 1.5 | 9 | 7 |
| 10-12 | 1.5 | 9 | 7 |
| 11-13 | 1.5 | 9 | 7 |
| 12-14 | 1.5 | 9 | 7 |
| 13-15 | 1.5 | 9 | 7 |
| 14-16 | 1.5 | 9 | 7 |
| 15-17 | 1.5 | 9 | 7 |
| 16-18 | 1.5 | 9 | 7 |